Bằng sáng chế về một chiếc ốp lưng điện thoại có thể sạc không dây cho đồng hồ Gear của Samsung vừa được chấp thuận tại Mỹ.
Món phụ kiện tuyệt vời cho người dùng Samsung
Ủy ban Sáng chế và Nhãn hiệu Mỹ vừa đăng tải thông tin về một bằng sáng chế mà Samsung đã được xác nhận từ ngày 15/6. Tài liệu này mô tả lại một chiếc ốp lưng/cover dành cho smartphone Galaxy. Nó được tích hợp sẵn bộ sạc không dây và có thể tiếp năng lượng cho các dòng đồng hồ thông minh Gear của hãng.

Người dùng có thể sạc cho đồng hồ Gear bằng cách đặt nó lên chiếc cover
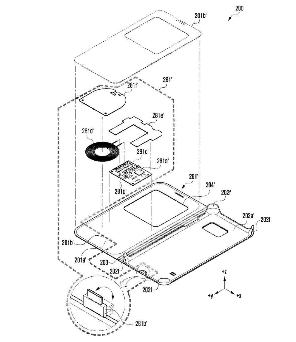
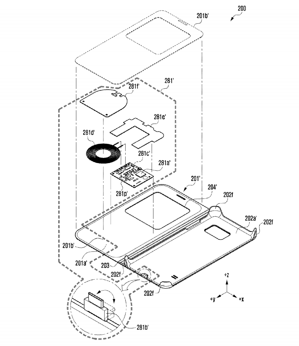
Về cơ bản, Samsung sẽ cố gắng kết hợp đế sạc không dây vào các loại bao dao. Năng lượng truyền phát sẽ được lấy trực tiếp từ điện thoại. Để sử dụng, người dùng chỉ cần đặt đồng hồ lên trên mặt của chiếc ốp lưng đó là được.
Nguồn pin sẽ được lấy từ điện thoại thông qua dây nối USB-C, hoặc nhiều khả năng sẽ là qua các chân pin đối với những máy được hỗ trợ. Thậm chí, Samsung còn dự định sẽ dùng nó để truyền dữ liệu qua lại giữa hai thiết bị nữa.
Cách đây không lâu, Apple cũng được xác nhận một bằng sáng chế gần tương tự. Tuy nhiên, nhiều khả năng Samsung sẽ thực sự biến nó thành sự thật, còn Apple thì chưa chắc.
Chi tiết hơn về cấu tạo và cách hoạt động của phụ kiện này
Hiện tại, chúng ta chưa biết hãng đã hoàn thiện món phụ kiện này chưa. Thời điểm ra mắt và mức giá của nó cũng vẫn còn là bí mật. Hãy cùng chờ đợi xem Samsung có thể mang nó lên ngay Galaxy Note 8 hay Galaxy S9 không nhé.









