Một bộ hồ sơ xin cấp bằng sáng chế vừa được gửi lên Văn phòng Bản quyền và Sáng chế Hoa Kỳ (USTPO) hé lộ thiết kế smartphone Motorola RAZR cực kỳ ấn tượng.
Màn hình rất dài và có thể gập lại
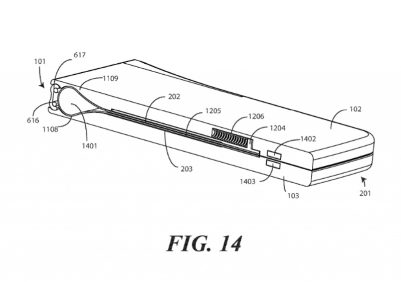
Theo đó, một trang công nghệ của Hà Lan chia sẻ về những chi tiết cơ bản trong thiết kế smartphone Motorola với màn hình mặt trước có thể gập lại theo cơ cấu bản lề ở chính giữa. Với những chi tiết có trong hồ sơ trên cơ sở dữ liệu của USTPO thì đây là “một thiết bị điện tử với một bản lề và các hệ thống hỗ trợ khác” do Motorola Mobility LLC (Chicago, IL) là chủ sở hữu sáng chế. Bộ hồ sơ này đã được đệ trình lên USTPO lần đầu vào ngày 31/5.

Khi nhìn từ phía sau, dòng sản phẩm này sẽ giúp chúng ta nhớ lại thiết kế của Moto X nguyên gốc với hai vòng tròn ở gần đỉnh máy, được dự đoán là module camera hoặc cảm biến vân tay hoặc logo Moto hình tròn.
Phía bên dưới của chiếc điện thoại này là loa ngoài với thiết kế khá giống trên Moto X. Các hình ảnh mô phỏng lộ ra đủ để thể hiện những đường nét cơ bản của mẫu smartphone này cũng như cách mà chiếc bản lề cơ khí hoạt động khi gập màn hình.
Sẽ phải chờ khá lâu để ra mắt
Tất nhiên, việc đăng ký bảo hộ sáng chế này của Motorola không đồng nghĩa với việc họ sẽ giới thiệu một sản phẩm thương mại với thiết kế chính xác như vậy. Nhưng những thông tin trên cho thấy Motorola thực sự đang phát triển một phương án khả thi cho thiết kế smartphone màn hình gập mới trong tương lai.

Điều này là hoàn toàn phù hợp với những gì CEO của Lenovo (chủ sở hữu Motorola) đã chia sẻ trong sự kiện MWC vào đầu năm nay: “Với những công nghệ tiên tiến, đặc biệt là việc ra đời các loại màn hình dẻo (có thể gập), tôi nghĩ chúng ta sẽ được chứng kiến ngày càng nhiều hơn nữa những cải tiến trong các thiết kế smartphone”.
Bạn nghĩ gì về dòng điện thoại màn hình gập kiểu dáng Motorola này? Cùng nhận xét ngay bên dưới để Hoàng Hà Mobile được biết nhé!









