Trong các sản phẩm iPhone mới hiện nay, trừ dòng iPhone SE thì Apple đều đã đổi sang phương thức bảo mật là mở khoá khuôn mặt Face ID. Tuy nhiên, có vẻ như “Táo khuyết” sắp hồi sinh lại Touch ID trên smartphone trong thời gian tới.
Bằng sáng chế tiết lộ Apple sẽ đưa Touch ID quay trở lại?
Trước đây, giới chuyên môn đều nhận định rằng “Nhà Táo” không quá mặn mà với việc phát triển TouchID dưới màn hình. Thay vào đó, gã khổng lồ công nghệ thung lũng Silicon tập trung đầu tư nhiều hơn vào công nghệ Face ID.
Bẵng đi nhiều năm, giờ đây, Apple có vẻ như không thể ngồi yên chứng kiến các flagship Android khác bắt đầu tích hợp máy quét dấu vân tay dưới màn hình. Bằng chứng là công ty có trụ sở tại Cupertino đã được cấp bằng sáng chế mới.

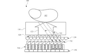
Bằng sáng chế đã được USPTO (Văn phòng Nhãn hiệu và Sáng chế Mỹ) công bố vào thứ Ba, được nộp từ tháng 9/2019. Tiêu đề của bằng sáng chế là: “Under-display fingerprint sensing based on off-axis angular light” (có nghĩa là: Cảm biến vân tay dưới màn hình dựa trên hệ thống ngoài trục ánh sáng góc). Trong tài liệu bằng sáng chế, Apple khẳng định TouchID dưới màn hình sẽ “cực thuận lợi cho việc xác minh hoặc xác thực cho một thiết bị điện tử.”

Bằng sáng chế trên cũng cho thấy công ty đang đi theo hướng phát triển máy quét vân tay quang học thay vì thử nghiệm phương pháp siêu âm hoặc công nghệ không dựa trên ánh sáng khác.
Hành động này cho thấy, Apple không lãng quên công nghệ Touch ID mà vẫn đang trong giai đoạn nghiên cứu cách tích hợp Touch ID dưới màn hình của iPhone tương lai. Có một số tin đồn rằng công ty từng thử nghiệm chức năng với iPhone 13 nhưng cuối cùng lại quyết định sử dụng FaceID cho loạt smartphone này.
Tạm kết
Hiện tại, Apple đang tụt hậu so với “đối thủ” khi nói đến sinh trắc học dưới màn hình. Tất nhiên, cũng không phải bằng sáng chế nào cũng được các nhà sản xuất sử dụng. Vì thế, người dùng hãy cứ chờ xem liệu Apple có mang Touch ID quay trở lại trên iPhone trong thời gian tới hay không nhé!
Đừng quên theo dõi Hoàng Hà Mobile để cập nhật các tin tức công nghệ mới nhất nhé!
Tham gia Hoàng Hà Mobile Group để cập nhật những chương trình và ưu đãi sớm nhất
Xem thêm: Điện thoại tầm trung ĐÁNG MUA NHẤT năm 2022 – Samsung Galaxy A53 5G, Unbox Samsung’s “mystery box”
Cùng Follow kênh Youtube của Hoàng Hà Mobile để cập nhật những tin tức mới nhất, sinh động nhất nhé!





