sáng chế màn hình gập Apple

Apple được cấp bằng sáng chế cho màn hình gập chống nứt, có đáng chờ đợi?

XEM NHANH

Apple vẫn chưa từng công bố bất kỳ sản phẩm nào có màn hình gập. Mới đây, Apple đã nhận một bằng sáng chế màn hình gập chống nứt. Đây có thể là công nghệ mới sẽ được áp dụng trong tương lai. 

Apple nhận bằng sáng chế màn hình gập chống nứt

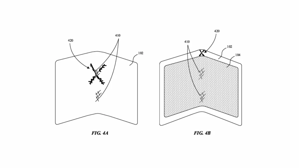
Trong những năm gần đây, Apple đã nhận được rất nhiều bằng sáng chế liên quan đến công nghệ màn hình gập. Mới đây, công ty tiếp tục được cấp thêm một bằng sáng chế nữa. Bằng sáng chế mới do Văn phòng bằng sáng chế và thương hiệu Hoa Kỳ cấp. Trong đó nó có mô tả một màn hình gập được thiết kế để chống nứt. Như vậy nó sẽ giúp giải quyết vấn đề của một số màn hình gập hiện nay trên thị trường.

sáng chế màn hình gập Apple

Bằng sáng chế có số bằng sáng chế US-20230011092-A1. Nó mô tả một màn hình được tạo thành từ nhiều lớp. Trong đó bao gồm một chất nền, một lớp bóng bán dẫn màng mỏng và một lớp bảo vệ. Lớp bảo vệ được thiết kế để ngăn các vết nứt hình thành trên đế dẻo. Đây cũng là phần dễ bị hư hỏng nhất của màn hình. Ngoài màn hình chống nứt, Apple cũng đã được cấp bằng sáng chế cho màn hình tự phục hồi. Công nghệ này sẽ cho phép màn hình phục hồi sau những vết trầy xước nhỏ.

sáng chế màn hình gập Apple

Nhiều chuyên gia tin rằng Apple sẽ không ra mắt một chiếc iPhone gập. Tuy nhiên một số rò rỉ cho rằng iPad gập có thể là thử nghiệm ít rủi ro hơn của Apple. Nếu màn hình gập được ứng dụng, rất có thể Apple sẽ sớm giới thiệu chiếc iPad đầu tiên sở hữu công nghệ này.

Trên đây là thông tin bằng sáng chế màn hình gập Apple. Thông tin trên đều được Hoàng Hà Mobile tổng hợp. Đừng quên theo dõi Hoàng Hà Mobile để cập nhật các tin tức công nghệ mới nhất nhé!

Tham gia Hoàng Hà Mobile Group để cập nhật những chương trình và ưu đãi sớm nhất

Xem thêm: So sánh camera iPhone 13 Pro Max & iPhone 14 Pro: Không khác biệt nhiều?

Cùng Follow kênh Youtube của Hoàng Hà Mobile để cập nhật những tin tức mới nhất, sinh động nhất nhé!

Tin mới nhất
ho-so-nang-luc
Hồ sơ năng lực là gì? Cách xây dựng Profile công ty chuyên nghiệp từ A–Z
bao-lau-thay-nhot-1-lan
Bao lâu thay nhớt 1 lần? Thời gian thay nhớt chuẩn cho xe máy & ô tô
ve-sinh-may-giat-cua-ngang
Hướng dẫn vệ sinh máy giặt cửa ngang sạch sâu, không mùi
may-nuoc-nong-nang-luong-mat-troi-son-ha
Máy nước nóng năng lượng mặt trời Sơn Hà có tốt không?