Màn hình chống vỡ là chưa đủ, Motorola còn muốn trang bị cho các thiết bị tương lai một công nghệ giúp nó tự liền lại nếu bị nứt vỡ.
Màn hình tự liền khi vỡ là sao?
Cách đây vài năm, Motorola đã công bố công nghệ chống vỡ cho smartphone. Hệ thống kính bảo vệ màn hình của máy có thể hấp thụ lực tốt hơn, phân tán tác động ra rộng hơn để tránh bị nứt vỡ. Công nghệ này đã được chứng minh là hiệu quả thực sự, nhưng hãng còn muốn nhiều hơn thế.
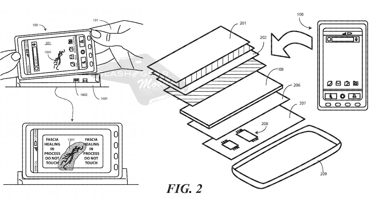
Theo thông tin từ bản mô tả bằng sáng chế mới nhất, hãng đang phát triển cả công nghệ màn hình tự liền khi vỡ. Thành phần chính của nó là một lớp nhựa trong suốt y như kính. Lớp nhựa này có thể “ghi nhớ” hình dạng ban đầu của nó; và nếu bị nứt vỡ, các phân tử sẽ tự động dịch chuyển về đúng vị trí cũ.
Mô tả về công nghệ màn hình tự liền khi vỡ của Motorola
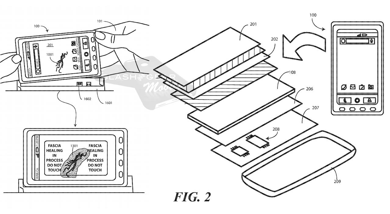
Công nghệ này cũng liên quan tới phần mềm quản lý. Máy sẽ nhận biết được khi màn hình vỡ và hiện lên một thông báo về quá trình hồi phục. Khi người dùng ấn đồng ý, quá trình này mới bắt đầu diễn ra. Lúc này, người dùng không được sử dụng máy.
Một bộ phận dưới màn hình sẽ bắt đầu làm nóng phần kính bị vỡ ra. Đây là xúc tác để các phân tử bắt đầu dịch chuyển về vị trí ban đầu và liên kết lại với nhau. Motorola cũng nói rằng việc hồi phục lại 100% là điều không thể. Công nghệ này chỉ có thể đưa màn hình về hình dạng gần như nguyên gốc.








