Mới đây, Apple đã vừa được cấp 2 bằng sáng chế có ý tưởng chính đó là tích hợp tính năng sạc ngược dành cho những mẫu MacBook trong tương lai, giúp chúng có thể sạc được cho những thiết bị iPhone và Apple Watch.
MacBook trong tương lai có thể sạc ngược được cho các thiết bị khác của Apple?
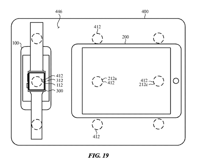
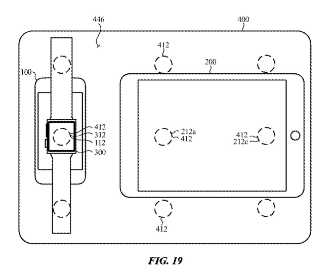
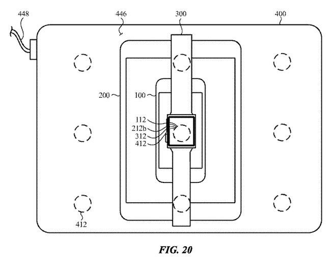
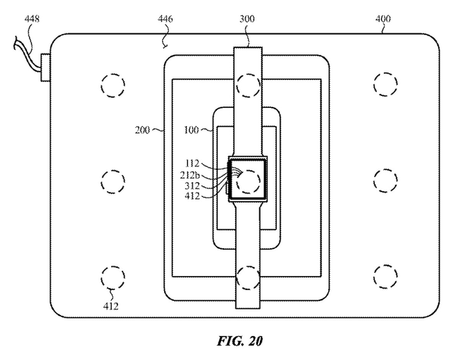
Theo thông tin từ tờ The Verge, Apple mới đây đã vừa được cấp 2 bằng sáng chế mới có liên quan tới khả năng sạc ngược không dây. Hai tấm bằng sáng chế mới này đã mô tả về một chiếc MacBook đang sạc pin cho iPhone và Apple Watch. Một hình vẽ phác thảo khác cho thấy iPhone và iPad cũng có thể sử dụng để sạc không dây cho Apple Watch.
Các bằng sáng chế này có thể giúp giải quyết vấn đề thiếu cổng kết nối trên MacBook, hay việc người dùng thường xuyên phải mang theo quá nhiều bộ sạc khác nhau cho từng thiết bị. Mọi thứ sẽ trở nên đơn giản hơn rất nhiều, nếu có một chiếc MacBook làm đế sạc không dây cho cả iPhone và Apple Watch.
Trong một số trường hợp khi đi ra ngoài, Apple Watch hoặc AirPods của bạn bị hết pin mà không có chỗ cắm sạc, bạn cũng có thể sử dụng iPhone hoặc iPad để sạc pin cho những phụ kiện này.
Một số hinh ảnh về bằng sáng chế mới của Apple
Tuy nhiên hiện tại MacBook và iPad có vỏ làm bằng nhôm, không tương thích với tính năng sạc không dây. Nếu Apple muốn đưa tính năng sạc không dây tương thích ngược lên những thiết bị này, có thể Apple sẽ phải thay đổi thiết kế.
Dẫu sao đây cũng chỉ mới là bằng sáng chế, việc biến ý tưởng trên giấy này trở thành hiện thực vẫn còn rất xa vời. Nhưng nếu sạc không dây tương thích ngược trên MacBook sẽ rất phức tạp, thì Apple vẫn hoàn toàn có thể tích hợp công nghệ này vào iPhone hay iPad, giống như các hãng smartphone Android đã từng làm.
Tạm kết
Vậy cuối cùng bạn đọc có suy nghĩ như thế nào về thông tin này? Và liệu ý tưởng này có được Apple hiện thực hóa hay không? Hãy để lại ý kiến cá nhân ở phần bình luận và cũng đừng quên theo dõi Hoàng Hà Mobile để cập nhật các tin tức công nghệ mới nhất nhé.
Tham gia Hoàng Hà Mobile Group để cập nhật những chương trình và ưu đãi sớm nhất
Xem thêm: Smartphone nào sạc KHỦNG nhất năm 2020?
Cùng Follow kênh Youtube của Hoàng Hà Mobile để cập nhật những tin tức mới nhất, sinh động nhất nhé!

