bằng sáng chế iPhone gập

Apple nhận bằng sáng chế iPhone với màn hình gập và bản lề cực mỏng, liệu có thể là năm sau?

XEM NHANH

Rất nhiều thương hiệu sản xuất smartphone đã giới thiệu các mẫu điện thoại gập trong năm nay. Apple gần đây đã nhận bằng sáng chế iPhone gập với bản lề cực mỏng. Công ty có thể đang cân nhắc về sản phẩm này trong tương lai gần. 

Apple nhận bằng sáng chế iPhone với màn hình gập

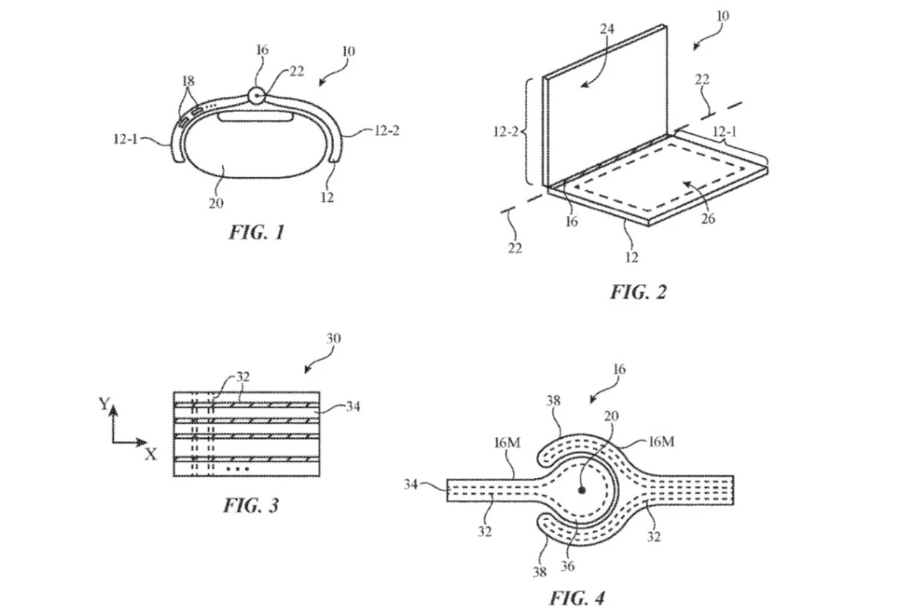
Nhà “Táo khuyết” gần đây đã nhận được bằng sáng chế cho một loại bản lề gập. Nó có thể xuất hiện trên iPhone, MacBook Pro hoặc một thiết bị nào đó. Bằng sáng chế này gọi là “bản lề ma sát bằng sợi composite”. Chúng ta có thể hiểu, bản lề sử dụng chất liệu composite khiến nó cực mỏng nhưng vẫn đảm bảo độ chắc chắn. Nhiều tin đồn dự đoán rằng đây có thể là bằng sáng chế chuẩn bị cho mẫu iPhone gập tương lai.

bằng sáng chế iPhone gập

Trong bằng sáng chế, Apple tiết lộ “Một thiết bị điện tử có thể có một hoặc nhiều bản lề. Ví dụ: một thiết bị gập có thể có phần vỏ thứ nhất được ghép với phần vỏ thứ hai bằng bản lề ma sát. Bản lề ma sát có thể bao gồm sợi – các cấu trúc composite sợi carbon và cấu trúc composite sợi khác. Việc sử dụng cấu trúc composite sợi có thể giúp giảm khối lượng bản lề trong khi cải thiện hiệu suất của nó.” Bạn có thể xem bản phác thảo bằng sáng chế trên đây. 
bằng sáng chế iPhone gập
Điều này một lần nữa là bằng chứng cho việc Apple đang phát triển iPhone gập. Gần đây, công ty cũng nộp bằng sáng chế cho một loại pin có thể gập lại. Nó được kỳ vọng sẽ cung cấp năng lượng như trên một smartphone thông thường. Nhà phân tích Ming-Chi Kuo của TF International cho biết Apple sẽ xuất xưởng 15-20 triệu chiếc iPhone gập vào năm 2023. Cùng chờ đợi những thông tin tiếp theo nhé.
Trên đây là thông tin bằng sáng chế iPhone gập. Đừng quên theo dõi Hoàng Hà Mobile để cập nhật các tin tức công nghệ mới nhất nhé.

Tin mới nhất
noi-chien-khong-dau
Nồi Chiên Không Dầu Loại Nào Tốt? [Review & Mua Hàng 2026]
quat-cay-panasonic
Quạt Cây Panasonic: Chọn Mua Loại Nào Tốt Nhất?
quat-tran-panasonic-4-canh
Quạt Trần Panasonic 4 Cánh: Đánh Giá Chi Tiết Và Top Model Tốt Nhất
sanyo-may-giat
Máy giặt Sanyo: Đánh giá chi tiết, giá, cách dùng và sửa lỗi