Apple đã nộp một số đơn xin cấp bằng sáng chế cho các cải tiến liên quan đến pin. Đây có thể là sự thay đổi tiếp theo dành cho các mẫu iPhone thế hệ mới và thiết bị khác của hãng.
Dung lượng pin lớn hơn trong các mẫu iPhone tương lai?
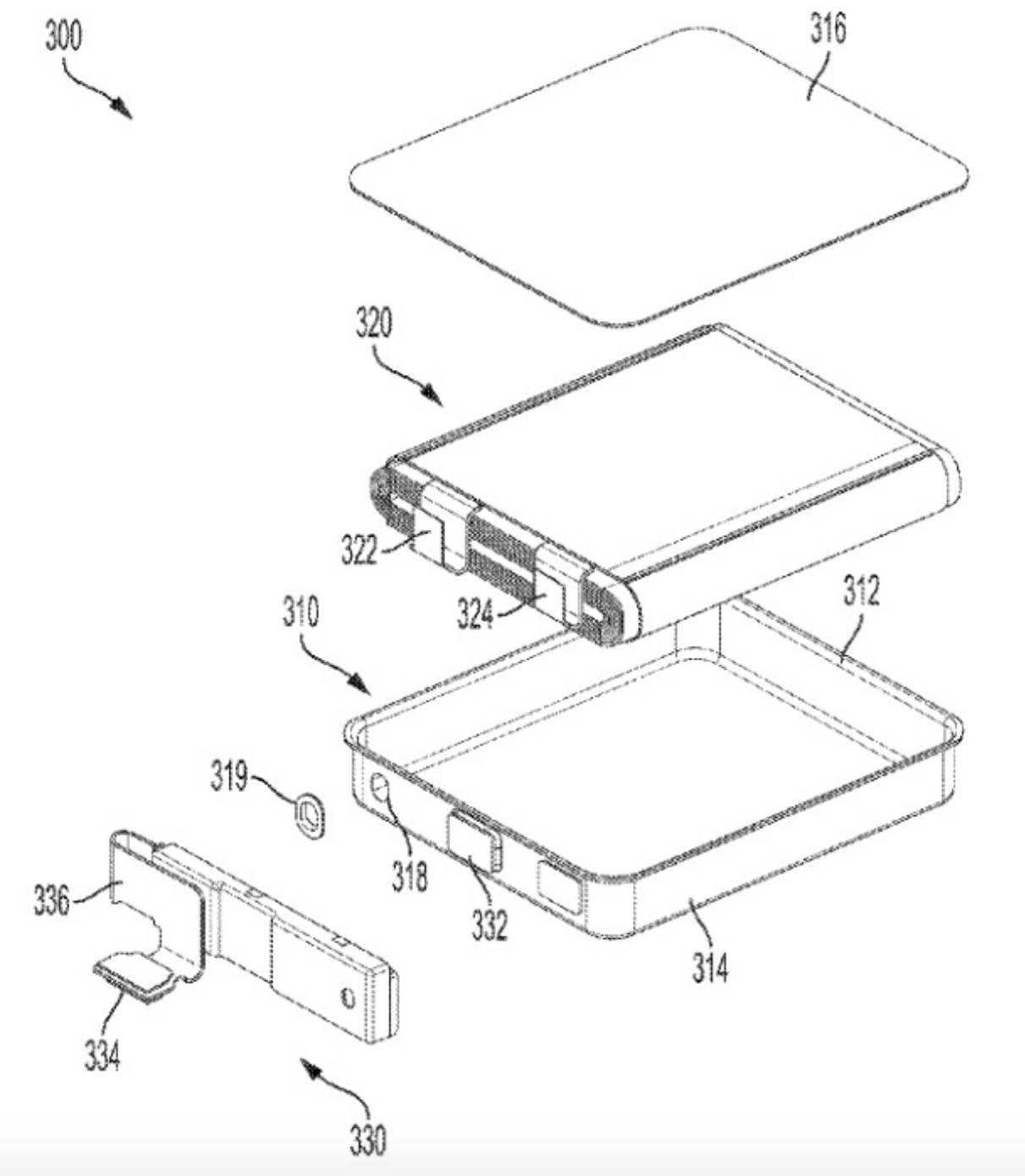
Từ trước đến nay, một trong số những điểm trừ hiếm hoi mà các sản phẩm nhà Táo thường xuyên gặp phải chính là liên quan đến pin iPhone. Theo thông tin từ trang phonearena, Apple gần đây đã nộp đơn xin cấp 2 bằng sáng chế để cải tiến vấn đề này.
Bằng đầu tiên được đăng ký với tên “Pin kim loại” giúp tiết kiệm khoảng cách giữa các thành phần trong cùng một thiết bị điện tử.
Ngay cả khi sử dụng pin lớn hơn thì hộp pin này cũng sẽ không làm ảnh hưởng hay chạm đến những phần còn lại. Kích thước chung của thiết bị, nhất là điện thoại iPhone cũng không cần thiết phải làm to ra.

Hình minh họa của Apple về việc trang bị pin lớn hơn cho các thiết bị của mình.

Cận cảnh pin iPhone bị phồng.
Tạm kết
iFan có thích sự nâng cấp này không? Hãy bình luận bên dưới và tham khảo sản phẩm iPhone 12 tại Hoàng Hà Mobile.
Xem iPhone chính hãng VN/A tại đây
Tham gia Hoàng Hà Mobile Group để cập nhật những chương trình và ưu đãi sớm nhất
Cùng Follow kênh Youtube của Hoàng Hà Mobile để cập nhật những tin tức mới nhất, sinh động nhất nhé!





